Die MZA 85er sind alle 70 mm hoch.

Der kleine Tuning Fragen Thread
-
-
TuningKarl das wäre sehr nett.
Wie verhält es sich mit Steuerzeiten messen? Trotzdem einfach von Oberkante Laufbuchse messen?
-
Hier mal paar Bilder von der JM Kurbelwelle und dem 83/4 in unbearbeitetem Zustand.
Zylinderdichtfläche macht mir noch Sorgen, da werde ich kleben müssen.
Steuerzeiten vom Zylinder sind 180, 125 und 137. Einlass werde ich auch 155 bringen und Auslass/ Überströmer bekommen mehr Fläche. -
Die Anlaufscheiben der Kbw erinnern einen gleich wieder an die der Rzt Welle, die sich auflösen. :unsure:
-
Ja selbe Optik.
-
Und am Pleuel wurde auch nicht besonders geschickt rum geschliffen. Sollte wohl mal ein "Messerpleuel" werden....und ist ein "Wellenpleuel" geworden...
. Sieht aus wie von RZT (außer das Logo). Welche Größe hat denn der Buchsenaußendurchmesser vom Zylinder ? Gr.
-
Die Kurbelwelle wird also auf ordentliche Teile umgebaut, so werde ich die nicht verbauen.
Buchse müsste 54mm haben, messe ich morgen nochmal.
-
Warum macht er sich so ne Arbeit an den Kanälen und lässt dann Einlass und Auslass so?
-
Kann nur Unwissenheit sein. Der Auslass macht ja wohl am wenigsten Arbeit. Hier kann mit 5 min mehr Fräsarbeit locker mehr Leistung geholt werden.
-
Jo Einlassfläche geht dem Ding auch völlig vorbei, ist ja fast fürn 16er Vergaser und Aoa 1 ausgelegt. Aber die 4ten sind sauber gesetzt. check ich nicht.
-
Die Nebenströmer sitzen wirklich perfekt. Jackmotors selber sagt ja, dass der Einlass 165° haben soll, also. Unwissenheit.
Nochmal was anderes, warum haben fast alle ZT Zylinder ein Leistungsloch vorm Reso? Mein 85er Stage1 hat das, der S70N hats, der S60N, der 90N...
-
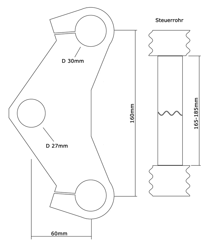
Hallo zusammen,
Kennt zufällig jemand den Versatz der Hercules Marzocchi Gabelbrücke genau? Ich hab dazu bislang nur gefunden, dass es mehr als bei den originalen Simsonbrücken sein soll. Hat vielleicht jemand mal nachgemessen?
Viele Grüße...
-
Reicht dir das aus?
-
Besten Dank!
-
Zitat von 2stroke fanatic
Die Nebenströmer sitzen wirklich perfekt. Jackmotors selber sagt ja, dass der Einlass 165° haben soll, also. Unwissenheit.
Nochmal was anderes, warum haben fast alle ZT Zylinder ein Leistungsloch vorm Reso? Mein 85er Stage1 hat das, der S70N hats, der S60N, der 90N...
Das liegt am herrlichen ZT Reso
Gesendet von meiner Doosan Lynx 220 LSY mit Sinumerik 828D
-
Das liegt am herrlichen ZT Reso
Gesendet von meiner Doosan Lynx 220 LSY mit Sinumerik 828D
Also wird es gut sein, dass ich von ZT Reso auf LT AOA3 umsteig.
-
Hallo, hat jemand versucht zu haben kolbenringsatz uber nebenauslässe? Ich habe das gelesen Aprilia rsa125 hat kolbenringsatz uber C uberstromer @40% von bohrung breite. Ich Möchte benutzen nebenauslässe @20% von bohrung breite mit mza kolbenrings. Hat jemand erfahrung zu diesem thema? Danke im voraus.
Mfg Jordan von BulgariaHello I want to ask if anyone has tried running the piston ring locating groove over the auxiliary outlets? I read that aprilia rsa125 runs it over the C port at 40% width with steel rings, but Simson rings are cast iron I think, will there be a problem with running over 20% of bore with good chamfer and smooth transition?
Thanks a lot. Sorry for using google translate. Greetings from Bulgaria. -
The c-Port is Cold, the additional exhaust are hot, but on a cheap Simson cylinder it should work
-
Hat jemand von euch den Easttuning 85ccm Sportzylinder? Für 150€ mit ZT Kolben ja fast geschenkt? Kann mir kaum vorstellen das da viel bearbeitet wurde für das Geld..
-
Wenn er auch wie ein Sportzylinder genutzt werden soll (mit 16er Gaser) dann muss man nur etwas Einlass und Auslass machen. Ist nicht viel Arbeit. Der Preis ist trotzdem sportlich [emoji848]
Gesendet von meiner Doosan Lynx 220 LSY mit Sinumerik 828D
-
Jetzt mitmachen!
Sie haben noch kein Benutzerkonto auf unserer Seite? Registrieren Sie sich kostenlos und nehmen Sie an unserer Community teil!